Below please find over one hundred patents for some of the mind control technology that is being used against us. You may find it useful for court cases, further investigation, and general informational purposes.
In The Minds of Men, a film by Aaron and Melissa Dykes, you can learn how the CIA developed this technology as early as the 1950s, implanting people with it.
Cybernetics and The Minds of Men
And at least as early as the 1960s, CIA was using microwaves to activate the technology they implanted in us, you know, like the ones that come from the HAARP array, 5G, or all those “cellphone towers” you see….
CIA Mind Control: Doctors Who Stand Against Microwave Harassment

I have attached below some links to my articles on the applications of this technology, how to spot it, and how to fight back.
Mind Control & Misdiagnosis of Physical & Behavioral Symptoms
How To Spot Mind Control Through Unusual Speech Patterns
Some of the assignees or holders of the patents with possibly deep pockets, making attractive defendants for a lawsuit, include Accenture Global Services Ltd.; Advanced Neurotechnologies, Inc.; Alliant Technosystems Inc.; American Science and Engineering Inc.; American Scientific Innovations LLC; American Tech Corp.; California Institute of Technology; Dorne and Margolin Inc.; Dream Weaver JV; General Dynamics Corp.; Georgia Tech Research Corp.; Google Technology Holdings; Intelligent Tech International Inc.; International Business Machines Corp.; Interstate Industries, Inc. d/b/a Hemi-Sync; Leland Stanford Junior University; Life Science and Technology LLC; Lockheed Martin Coherent Tech Inc.; Lockheed Martin Corp.; Lockheed Martin Energy Systems Inc.; Mentec AG; Micron Devices LLC; Motorola Mobility LLC; PhiloMetron Inc.; Pioneer Corp.; Proactive Systems Inc.; Procter and Gamble Co.; Quantum Devices Inc.; Raytheon; Rolls-Royce North American Technologies Inc.; STIMUTECH Inc.; Transparent Corp. Turtle Beach Corp.; University of Michigan; Universal Hedonics Inc.; VitrePixel Holdings LLC; and Wavestream Corp.
Otherwise, it’s hard to sue the government, but I also saw the U.S. Air Force listed as the assignee on at least one patent….
That shouldn’t be a surprise since they are now spraying us with nanotechnology on a regular basis.
Chemtrails, Smart Dust, & Mind Control
=======================================================================
At any rate, here are the patents. Just reading some of them helped me to understand the attacks against me and to resist them. Round-robin voices–a man, woman, and child–at different frequencies–are just one example.
Hearing Device – US4858612 – Inventor, Phillip L. Stocklin – Assignee, Mentec AG. A method and apparatus for simulation of hearing in mammals by introduction of a plurality of microwaves into the region of the auditory cortex is shown and described. A microphone is used to transform sound signals into electrical signals which are in turn analyzed and processed to provide controls for generating a plurality of microwave signals at different frequencies. The multifrequency microwaves are then applied to the brain in the region of the auditory cortex. By this method sounds are perceived by the mammal which are representative of the original sound received by the microphone.
Click on Link for Full Patent: US4858612

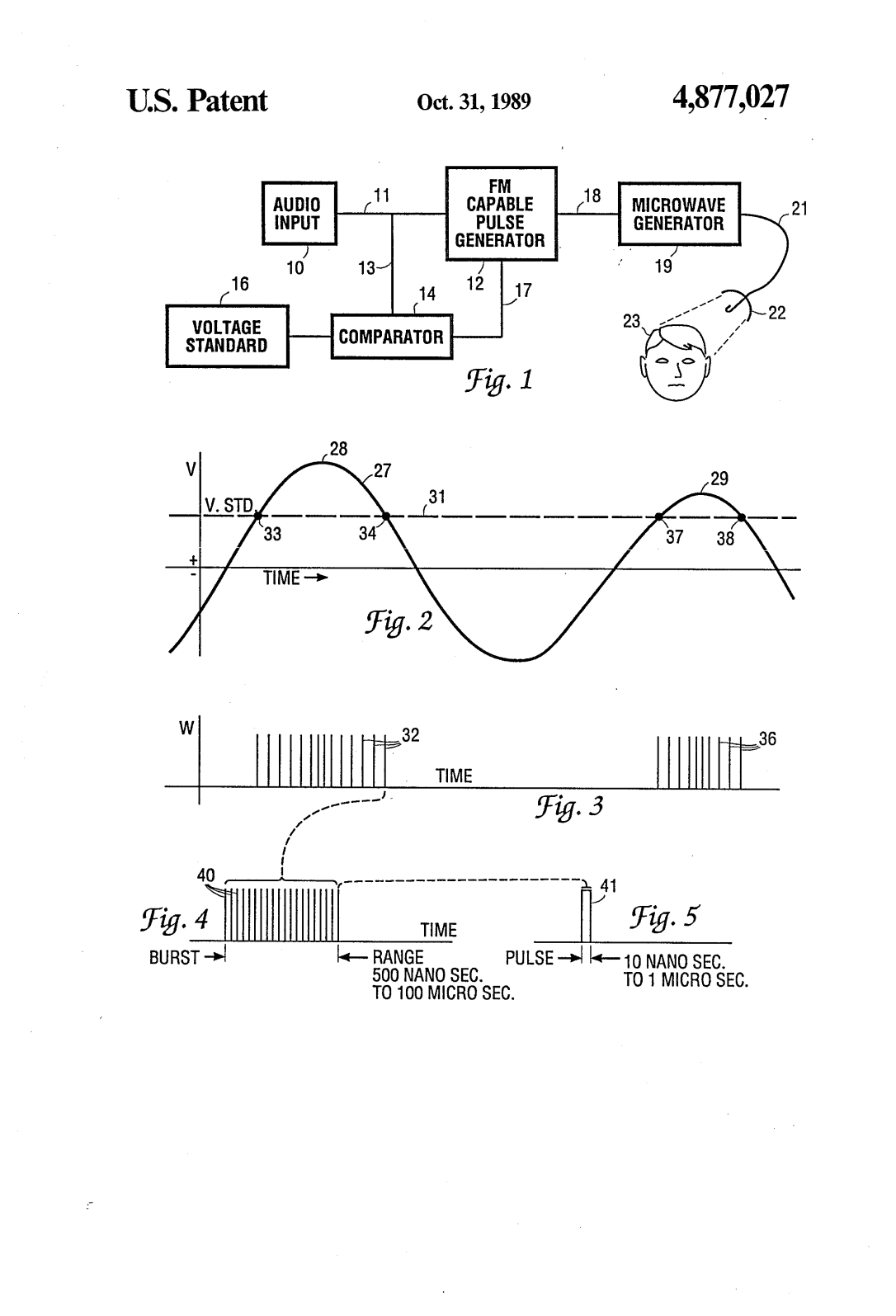
Hearing System – US4877027 – Inventor & Assignee, Wayne B. Brunkan. Sound is induced in the head of a person by radiating the head with microwaves in the range of 100 megahertz to 10,000 megahertz that are modulated with a particular waveform. The waveform consists of frequency modulated bursts. Each burst is made up of ten to twenty uniformly spaced pulses grouped tightly together. The burst width is between 500 nanoseconds and 100 microseconds. The pulse width is in the range of 10 nanoseconds to 1 microsecond. The bursts are frequency modulated by the audio input to create the sensation of hearing in the person whose head is irradiated.
Click on Link for Full Patent: US4877027

Silent Subliminal Representation System – US5159703 – Inventor & Assignee, Oliver M. Lowery. A silent communications system in which nonaural carriers, in the very low or very high audio frequency range or in the adjacent ultrasonic frequency spectrum, are amplitude or frequency modulated with the desired intelligence and propagated acoustically or vibrationally, for inducement into the brain, typically through the use of loudspeakers, earphones or piezoelectric transducers. The modulated carriers may be transmitted directly in real time or may be conveniently recorded and stored on mechanical, magnetic or optical media for delayed or repeated transmission to the listener.
Click on Link for Full Patent: US5159703

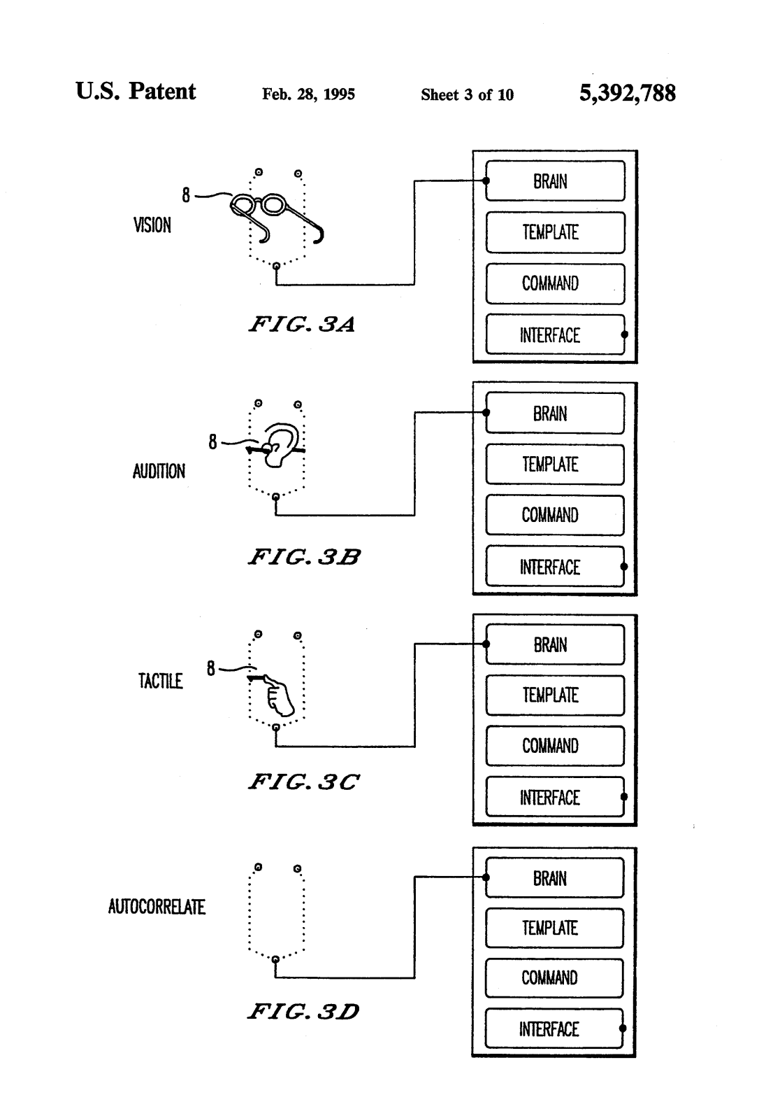
Method and Device for Interpreting Concepts and Conceptual Thought from Brainwave Data & for Assisting for Diagnosis of Brainwave Disfunction – US5392788 – Inventor, William J. Hudspeth – Assignee, Samuel J. Leven. A system for acquisition and decoding of EP and SP signals is provided which comprises a transducer for presenting stimuli to a subject, EEG transducers for recording brainwave signals from the subject, a computer for controlling and synchronizing stimuli presented to the subject and for concurrently recording brainwave signals, and either interpreting signals using a model for conceptual perceptional and emotional thought to correspond EEG signals to thought of the subject or comparing signals to normative EEG signals from a normative population to diagnose and locate the origin of brain dysfunctional underlying perception, conception, and emotion.
Click on Link for Full Patent: US5392788

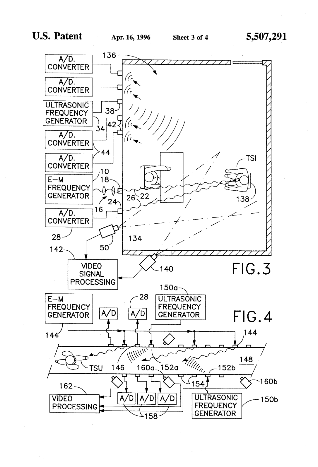
Method and an Associated Apparatus for Remotely Determining Information as to Person’s Emotional State – US5507291 – Inventors & Assignees, Robert C. Stirbl & Peter J. Wilk. In a method for remotely determining information relating to a person’s emotional state, an waveform energy having a predetermined frequency and a predetermined intensity is generated and wirelessly transmitted towards a remotely located subject. Waveform energy emitted from the subject is detected and automatically analyzed to derive information relating to the individual’s emotional state. Physiological or physical parameters of blood pressure, pulse rate, pupil size, respiration rate and perspiration level are measured and compared with reference values to provide information utilizable in evaluating interviewee’s responses or possibly criminal intent in security sensitive areas.
Click on Link for Full Patent: US5507291

Apparatus for Electric Stimulation of Auditory Nerves of a Human Being – US5922016 – Inventors & Assignees, Erwin & Ingeborg Hochmair. Apparatus for electric stimulation and diagnostics of auditory nerves of a human being, e.g. for determination of sensation level (SL), most conformable level (MCL) and uncomfortable level (UCL) audibility curves, includes a stimulator detachably secured to a human being for sending a signal into a human ear, and an electrode placed within the human ear and electrically connected to the stimulator by an electric conductor for conducting the signals from the stimulator into the ear. A control unit is operatively connected to the stimulator for instructing the stimulator as to characteristics of the generated signals being transmitted to the ear.
Click on Link for Full Patent: US5922016

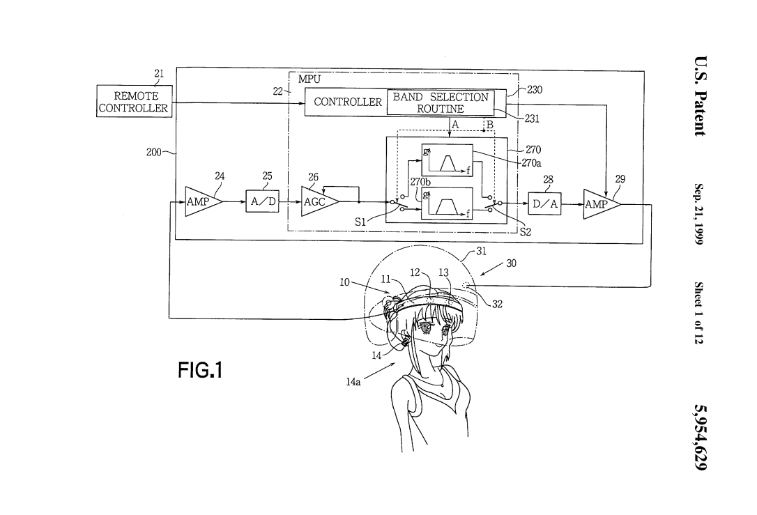
Brain Wave Inducing System – US5954629 – Inventors, Masatoshi Yanagidaira, Yuchi Kimikawa, Takeshi Fukami & Mitsuo Yasushi – Assignee, Pioneer Corp. Sensors are provided for detecting brain waves of a user, and a band-pass filter is provided for extracting a particular brain waves including an α wave included in a detected brain wave. The band-pass filter comprises a first band-pass filter having a narrow pass band, and a second band-pass filter having a wide pass band. One of the first and second band-pass filters is selected, and a stimulation signal is produced in dependency on an α wave extracted by a selected band-pass filter. In accordance with the stimulation signal, a stimulation light is emitted to the user in order to induce the user to relax or sleeping state.
Click on Link for Full Patent: US5954629

Layout Overlap Detection with Selective Flattening in Computer Implemented Integrated Circuit Design – US6011991 – Inventors, Wai-Yan Ho & Hongbo Tang – Assignee, Synopsys Inc. The present invention relates to a method for efficiently performing hierarchical design rules checks (DRC) and layout versus schematic comparison (LVS) on layout areas of an integrated circuit where cells overlap or where a cell and local geometry overlap. With the present invention, a hierarchical tree describes the integrated circuit’s layout data including cells having parent-child relationships and including local geometry. The present invention performs efficient layout verification by performing LVS and DRC checking on the new portions of an integrated circuit design and layout areas containing overlapping cells. When instances of cells overlap, the present invention determines the overlap area using predefined data structures that divide each cell into an array of spatial bins. Each bin of a parent is examined to determine if two or more cell instances reside therein or if a cell instance and local geometry reside therein. Once overlap is detected, the areas of the layout data corresponding to the overlap areas are selectively flattened prior to proceeding to DRC and LVS processing. During selective flattening of the overlap areas, the hierarchical tree is traversed from the top cell down through intermediate nodes to the leaf nodes. Each time geometry data is located during the traversal, it is pushes directly to the top cell without being stored in intermediate locations. This provides an effective mechanism for selective flattening.
Click on Link for Full Patent: US6011991
Apparatus for Audibly Communicating Speech Using the Radio Frequency Hearing Effect – US6587729 – Inventors, James P. O’laughlin & Diana L. Loree – Assignee, US Air Force. A modulation process with a fully suppressed carrier and input preprocessor filtering to produce an encoded output; for amplitude modulation (AM) and audio speech preprocessor filtering, intelligible subjective sound is produced when the encoded signal is demodulated using the RF Hearing Effect. Suitable forms of carrier suppressed modulation include single sideband (SSB) and carrier suppressed amplitude modulation (CSAM), with both sidebands present.
Click on Link for Full Patent: US6587729

Coupling an Electronic Skin Tattoo to a Mobile Communication Device – US20130297301A1 – Inventor, William P. Alberth, Jr. – Assignee, Google Technology Holdings LLC (formerly Motorola Mobility LLC). A system and method provides auxiliary voice input to a mobile communication device (MCD). The system comprises an electronic skin tattoo capable of being applied to a throat region of a body. The electronic skin tattoo can include an embedded microphone; a transceiver for enabling wireless communication with the MCD; and a power supply configured to receive energizing signals from a personal area network associated with the MCD. A controller is communicatively coupled to the power supply. The controller can be configured to receive a signal from the MCD to initiate reception of an audio stream picked up from the throat region of the body for subsequent audio detection by the MCD under an improved signal-to-noise ratio than without the employment of the electronic skin tattoo.
Click on Link for Full Patent: US20130297301A1
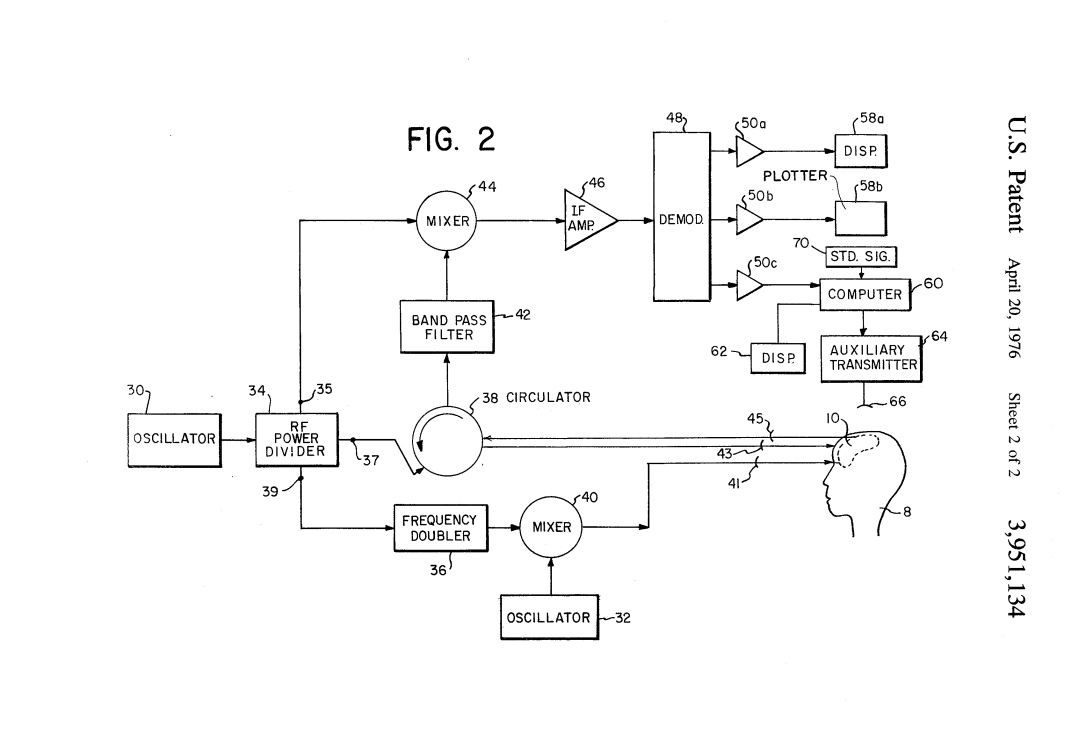
Apparatus for Remotely Altering & Monitoring Brainwaves – US3951134 – Inventor, Robert G. Malech – Assignee, Dorne & Margolin Inc. Apparatus for and method of sensing brain waves at a position remote from a subject whereby electromagnetic signals of different frequencies are simultaneously transmitted to the brain of the subject in which the signals interfere with one another to yield a waveform which is modulated by the subject’s brain waves. The interference waveform which is representative of the brain wave activity is re-transmitted by the brain to a receiver where it is demodulated and amplified. The demodulated waveform is then displayed for visual viewing and routed to a computer for further processing and analysis. The demodulated waveform also can be used to produce a compensating signal which is transmitted back to the brain to effect a desired change in electrical activity therein.
Click on Link for Full Patent: US3951134

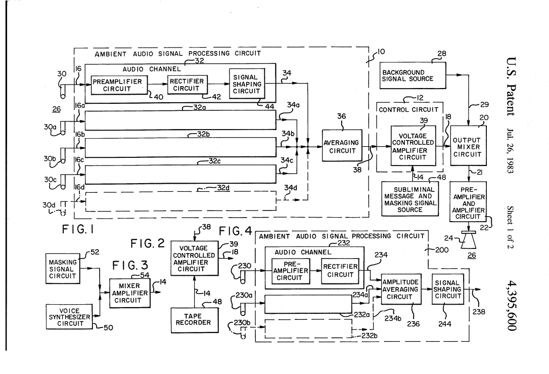
Auditory Subliminal Message System & Method – US4395600 – Inventors, Rene R. Lundy & David L. Tyler – Assignee, Proactive Systems Inc. Ambient audio signals from the customer shopping area within a store are sensed and fed to a signal processing circuit that produces a control signal which varies with variations in the amplitude of the sensed audio signals. A control circuit adjusts the amplitude of an auditory subliminal anti-shoplifting message to increase with increasing amplitudes of sensed audio signals and decrease with decreasing amplitudes of sensed audio signals. This amplitude controlled subliminal message may be mixed with background music and transmitted to the shopping area. To reduce distortion of the subliminal message, its amplitude is controlled to increase at a first rate slower than the rate of increase of the amplitude of ambient audio signals from the area. Also, the amplitude of the subliminal message is controlled to decrease at a second rate faster than the first rate with decreasing ambient audio signal amplitudes to minimize the possibility of the subliminal message becoming supraliminal upon rapid declines in ambient audio signal amplitudes in the area. A masking signal is provided with an amplitude which is also controlled in response to the amplitude of sensed ambient audio signals. This masking signal may be combined with the auditory subliminal message to provide a composite signal fed to, and controlled by, the control circuit.
Click on Link for Full Patent: US4395600
Apparatus for Inducing Frequency Reduction in Brain Wave – US4834701 – Inventor, Kazumi Masaki – Assignee, Ken Hayashibara. Frequency reduction in human brain wave is inducible by allowing human brain to perceive 4-16 hertz beat sound. Such beat sound can be easily produced with an apparatus, comprising at least one sound source generating a set of low-frequency signals different each other in frequency by 4-16 hertz. Electroencephalographic study revealed that the beat sound is effective to reduce beta-rhythm into alpha-rhythm, as well as to retain alpha-rhythm.
Click on Link for Full Patent: US4834701
Method & System for Altering Consciousness – US5123899 – Inventor & Assignee, James Gall. A system for altering the states of human consciousness involves the simultaneous application of multiple stimuli, preferable sounds, having differing frequencies and wave forms. The relationship between the frequencies of the several stimuli is exhibited by the equation
g=s.sup.n/4 ·f

Method of and Apparatus for Inducing Desired States of Consciousness – US5356368 – Inventor, Robert A. Monroe – Assignee, Interstate Industries Inc. Improved methods and apparatus for entraining human brain patterns, employing frequency following response (FFR) techniques, facilitate attainment of desired states of consciousness. In one embodiment, a plurality of electroencephalogram (EEG) waveforms, characteristic of a given state of consciousness, are combined to yield an EEG waveform to which subjects may be susceptible more readily. In another embodiment, sleep patterns are reproduced based on observed brain patterns during portions of a sleep cycle; entrainment principles are applied to induce sleep. In yet another embodiment, entrainment principles are applied in the work environment, to induce and maintain a desired level of consciousness. A portable device also is described.
Click on Link for Full Patent: US5356368

Acoustic Heterodyne Device & Method – US5889870 – Inventor, Elwood G. Norris – Assignee, Turtle Beach Corp. (formerly American Tech Corp.) The present invention is the emission of new sonic or subsonic compression waves from a region resonant cavity or similar of interference of at least two ultrasonic wave trains. In one embodiment, two ultrasonic emitters are oriented toward the cavity so as to cause interference between emitted ultrasonic wave trains. When the difference in frequency between the two ultrasonic wave trains is in the sonic or subsonic frequency range, a new sonic or subsonic wave train of that frequency is emitted from within the cavity or region of interference in accordance with the principles of acoustical heterodyning. The preferred embodiment is a system comprised of a single ultrasonic radiating element oriented toward the cavity emitting multiple waves.
Click on Link for Full Patent: US5889870

Apparatus & Method of Broadcasting Audible Sound Using Ultrasonic Sound as a Carrier – US60552336 – Inventor & Assignee, Austin Lowrey III. An ultrasonic sound source broadcasts an ultrasonic signal which is amplitude and/or frequency modulated with an information input signal originating from an information input source. If the signals are amplitude modulated, a square root function of the information input signal is produced prior to modulation. The modulated signal, which may be amplified, is then broadcast via a projector unit, whereupon an individual or group of individuals located in the broadcast region detect the audible sound.
Click on Link for Full Patent: US6052336

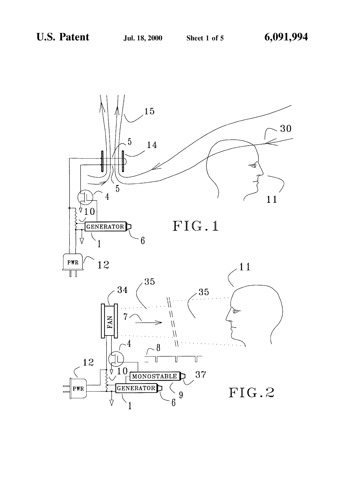
Pulsative Manipulation of Nervous Systems – US6091994 – Inventor & Assignee, Hendricus G. Loos. Method and apparatus for manipulating the nervous system by imparting subliminal pulsative cooling to the subject’s skin at a frequency that is suitable for the excitation of a sensory resonance. At present, two major sensory resonances are known, with frequencies near 1/2 Hz and 2.4 Hz. The 1/2 Hz sensory resonance causes relaxation, sleepiness, ptosis of the eyelids, a tonic smile, a “knot” in the stomach, or sexual excitement, depending on the precise frequency used. The 2.4 Hz resonance causes the slowing of certain cortical activities, and is characterized by a large increase of the time needed to silently count backward from 100 to 60, with the eyes closed. The invention can be used by the general public for inducing relaxation, sleep, or sexual excitement, and clinically for the control and perhaps a treatment of tremors, seizures, and autonomic system disorders such as panic attacks. Embodiments shown are a pulsed fan to impart subliminal cooling pulses to the subject’s skin, and a silent device which induces periodically varying flow past the subject’s skin, the flow being induced by pulsative rising warm air plumes that are caused by a thin resistive wire which is periodically heated by electric current pulses.
Click on Link for Full Patent: US6091994

Method & Device for Implementing Radio Frequency Hearing Effect – US6470214 – Inventors, James P. O’Loughlin & Diana Loree. Assignee, US Air Force. A modulation process with a fully suppressed carrier and input preprocessor filtering to produce an encoded output; for amplitude modulation (AM) and audio speech preprocessor filtering, intelligible subjective sound is produced when the encoded signal is demodulated using the RF Hearing Effect. Suitable forms of carrier suppressed modulation include single sideband (SSB) and carrier suppressed amplitude modulation (CSAM), with both sidebands present.
Click on Link for Full Patent: US6470214

Method & Device for Producing a Desired Brain State – US6488617 – Inventor, Bruce F. Katz – Assignee, Universal Hedonics. A method and device for the production of a desired brain state in an individual contain means for monitoring and analyzing the brain state while a set of one or more magnets produce fields that alter this state. A computational system alters various parameters of the magnetic fields in order to close the gap between the actual and desired brain state. This feedback process operates continuously until the gap is minimized and/or removed.

Multifunctional Radio Frequency Directed Energy System – US7629918 – Inventors, Kenneth W. Brown, David J. Canich & Russell F. Berg – Assignee, Raytheon Co. An RFDE system includes an RFDE transmitter and at least one RFDE antenna. The RFDE transmitter and antenna direct high power electromagnetic energy towards a target sufficient to cause high energy damage or disruption of the target. The RFDE system further includes a targeting system for locating the target. The targeting system includes a radar transmitter and at least one radar antenna for transmitting and receiving electromagnetic energy to locate the target. The RFDE system also includes an antenna pointing system for aiming the at least one RFDE antenna at the target based on the location of the target as ascertained by the targeting system. Moreover, at least a portion of the radar transmitter or the at least one radar antenna is integrated within at least a portion of the RFDE transmitter or the at least one RFDE antenna.
Click on Link for Full Patent: US7629918
Nervous System Excitation Device – US3393279 – Inventor, Flanagan Gillis Patrick – Assignee, Biolectron Inc. (Listening Inc.) A METHOD OF TRANSMITTING AUDIO INFORMATION TO THE BRAIN OF SUBJECT THROUGH THE NERVOUS SYSTEM OF THE SUBJECT WHICH METHOD COMPRISES, IN COMBINATION, THE STEPS OF GENERATING A RADIO FREQUENCY SIGNAL HAVING A FREQUENCY IN EXCESS OF THE HIGHERST FREQUENCY OF THE AUDIO INFORMATTION TO BE TRANSMITTED, MODULATING SAID RADIO FREQUENCY SIGNAL WITH THE AUDIO INFORMATION TO BE TRANSMITTED, AND APPLYING SAID MODULATED RADIO FREQUENCY SIGNAL TO A PAIR OF INSULATED ELECTRODES AND PLACING BOTH OF SAID INSULATED ELECTRODE IN PHYSICAL CONTACT WITH THE SKIN OF SAID SUBJECT, THE STRETCH OF SAID RADIO FREQUENCY ELECTROMAGNETIC FIELD BEING HIGH ENOUGH AT THE SKIN SURFACE TO CAUSE THE SENSATION OF HEARING THE AUDIO INFORMATION MODULATED THEREON IN THE BRAIN OF SAID SUBJECT AND LOW ENOUGH SO THAT SAID SUBJECT EXPERIENCES NO PHYSICAL DISCOMFORT.
Click on Link for Full Patent: US3393279
Method & System for Simplifying Speech Wave Forms – US3647970 – Inventor & Assignee, Gillis P. Flanagan. A speech waveform is converted to a constant amplitude square wave in which the transitions between the amplitude extremes are spaced so as to carry the speech information. The system includes a pair of tuned amplifier circuits which act as high-pass filters having a 6 decibel per octave slope from 0 to 15,000 cycles followed by two stages, each comprised of an amplifier and clipper circuit, for converting the filtered waveform to a square wave. A radio transmitter and receiver having a plurality of separate channels within a conventional single side band transmitter bandwidth and a system for transmitting secure speech information are also disclosed.
Click on Link for Full Patent: US3647970
Intra-Oral Electronic Tracking Device – US6239705 – Inventor & Assignee, Jeffrey Glen. An improved stealthy, non-surgical, biocompatable electronic tracking device is provided in which a housing is placed intraorally. The housing contains microcircuitry. The microcircuitry comprises a receiver, a passive mode to active mode activator, a signal decoder for determining positional fix, a transmitter, an antenna, and a power supply. Optionally, an amplifier may be utilized to boost signal strength. The power supply energizes the receiver. Upon receiving a coded activating signal, the positional fix signal decoder is energized, determining a positional fix. The transmitter subsequently transmits through the antenna a position locating signal to be received by a remote locator. In another embodiment of the present invention, the microcircuitry comprises a receiver, a passive mode to active mode activator, a transmitter, an antenna and a power supply. Optionally, an amplifier may be utilized to boost signal strength. The power supply energizes the receiver. Upon receiving a coded activating signal, the transmitter is energized. The transmitter subsequently transmits through the antenna a homing signal to be received by a remote locator.
Click on Link for Full Patent: US6239705

Method & Apparatus for Analyzing Neurological Response to Emotion-Inducing Stimuli – US6292688 – Inventor, Richard E. Patton – Assignee, Advanced Neurotechnologies, Inc. A method of determining the extent of the emotional response of a test subject to stimului having a time-varying visual content, for example, an advertising presentation. The test subject is positioned to observe the presentation for a given duration, and a path of communication is established between the subject and a brain wave detector/analyzer. The intensity component of each of at least two different brain wave frequencies is measured during the exposure, and each frequency is associated with a particular emotion. While the subject views the presentation, periodic variations in the intensity component of the brain waves of each of the particular frequencies selected is measured. The change rates in the intensity at regular periods during the duration are also measured. The intensity change rates are then used to construct a graph of plural coordinate points, and these coordinate points graphically establish the composite emotional reaction of the subject as the presentation continues.
Click on Link for Full Patent: US6292688

Portable & Hand-Held Device for Making Humanly Audible Sounds Responsive to the Detecting of Ultrasonic Sounds – US6426919 – Inventor & Assignee, William A. Gerosa. A portable and hand-held device for making humanly audible sounds responsive to the detecting of ultrasonic sounds. The device includes a hand-held housing and circuitry that is contained in the housing. The circuitry includes a microphone that receives the ultrasonic sound, a first low voltage audio power amplifier that strengthens the signal from the microphone, a second low voltage audio power amplifier that further strengthens the signal from the first low voltage audio power amplifier, a 7-stage ripple carry binary counter that lowers the frequency of the signal from the second low voltage audio power amplifier so as to be humanly audible, a third low voltage audio power amplifier that strengthens the signal from the 7-stage ripple carry binary counter, and a speaker that generates a humanly audible sound from the third low voltage audio power amplifier.
Click on Link for Full Patent: US6426919
Signal Injection Coupling into the Human Vocal Tract for Robust Audible & Inaudible Voice Recognition – US6487531 – Inventors & Assignees, Carol A. Tosaya & John W. Sliwa, Jr. A means and method are provided for enhancing or replacing the natural excitation of the human vocal tract by artificial excitation means, wherein the artificially created acoustics present additional spectral, temporal, or phase data useful for (1) enhancing the machine recognition robustness of audible speech or (2) enabling more robust machine-recognition of relatively inaudible mouthed or whispered speech. The artificial excitation (a) may be arranged to be audible or inaudible, (b) may be designed to be non-interfering with another user’s similar means, (c) may be used in one or both of a vocal content-enhancement mode or a complimentary vocal tract-probing mode, and/or (d) may be used for the recognition of audible or inaudible continuous speech or isolated spoken commands.
Click on Link for Full Patent: US6487531

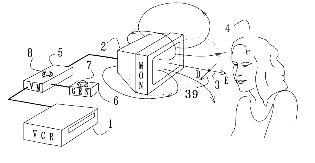
Nervous System Manipulation by Electromagnetic Fields from Monitors – US6506148 – Inventor & Assignee, Hendricus G. Loos. Physiological effects have been observed in a human subject in response to stimulation of the skin with weak electromagnetic fields that are pulsed with certain frequencies near ½ Hz or 2.4 Hz, such as to excite a sensory resonance. Many computer monitors and TV tubes, when displaying pulsed images, emit pulsed electromagnetic fields of sufficient amplitudes to cause such excitation. It is therefore possible to manipulate the nervous system of a subject by pulsing images displayed on a nearby computer monitor or TV set. For the latter, the image pulsing may be imbedded in the program material, or it may be overlaid by modulating a video stream, either as an RF signal or as a video signal. The image displayed on a computer monitor may be pulsed effectively by a simple computer program. For certain monitors, pulsed electromagnetic fields capable of exciting sensory resonances in nearby subjects may be generated even as the displayed images are pulsed with subliminal intensity.
Click on Link for Full Patent: US6506148

Apparatus To Effect Brainwave Entrainment over Premises Power-Line Wiring – US8579793 – Inventor, James David Honeycutt & John Clois Honeycutt, Jr. – Assignee, James David Honeycutt. This invention discloses an apparatus and method to affect brainwave entrainment by Very Low Frequency eXclusive-OR (XOR) modulation of a Very High Frequency carrier over a premise’s power-line Alternating Current (AC) wiring. A microcontroller with stored program memory space is used to store and produce the waveforms that lead to brainwave entrainment by controlling an H-Bridge capable of generating bipolar square waves, which output is capacitive coupled to a premises AC power-line and a light sensing device is used by the microcontroller to determine whether to produce daytime or nighttime entrainment frequencies.
Click on Link for Full Patent: US8579793

Method & System for Brain Entrainment – US20140309484A1 – Inventor & Assignee, Daniel Wonchul Chong. The present invention is a method of modifying music files to induce a desired state of consciousness. First and second modulations are introduced into a music file such that, when the music file is played, both of the modulations occur simultaneously. Additional modulations can be introduced, as well as sound tones at window frequencies.
Click on Link for Full Patent: US20140309484A1
Method of Inducing Harmonious States of Being – US6135944 – Inventors, Gerard D. Bowman, Edward M. Karam & Steven C. Benson – Assignee, Gerard D. Bowman. A method of inducing harmonious states of being using vibrational stimuli, preferably sound, comprised of a multitude of frequencies expressing a specific pattern of relationship. Two base signals are modulated by a set of ratios to generate a plurality of harmonics. The harmonics are combined to form a “fractal” arrangement.
Click on Link for Full Patent: US6135944
Pulse Variability in Electric Field Manipulation of Nervous Systems – US6167304 – Inventor & Assignee, Hendricus G. Loos. Apparatus and method for manipulating the nervous system of a subject by applying to the skin a pulsing external electric field which, although too weak to cause classical nerve stimulation, modulates the normal spontaneous spiking patterns of certain kinds of afferent nerves. For certain pulse frequencies the electric field stimulation can excite in the nervous system resonances with observable physiological consequences. Pulse variability is introduced for the purpose of thwarting habituation of the nervous system to the repetitive stimulation, or to alleviate the need for precise tuning to a resonance frequency, or to control pathological oscillatory neural activities such as tremors or seizures. Pulse generators with stochastic and deterministic pulse variability are disclosed, and the output of an effective generator of the latter type is characterized.
Click on Link for Full Patent: US6167304

Method & System for Brain Entertainment – US8636640 – Inventor, Daniel Wonchul Chang – Assignee, Brain Symphony LLC. The present invention is a method of modifying music files to induce a desired state of consciousness. First and second modulations are introduced into a music file such that, when the music file is played, both of the modulations occur simultaneously. Additional modulations can be introduced, as well as sound tones at window frequencies.
Click on Link for Full Patent: US8636640
Method & Apparatus for Manipulating Nervous Systems – US5782874 – Inventor & Assignee, Hendricus C. Loos. Apparatus and method for manipulating the nervous system of a subject through afferent nerves, modulated by externally applied weak fluctuating electric fields, tuned to certain frequencies such as to excite a resonance in certain neural circuits. Depending on the frequency chosen, excitation of such resonances causes relaxation, sleepiness, sexual excitement, or the slowing of certain cortical processes. The weak electric field for causing the excitation is applied to skin areas away from the head of the subject, such as to avoid substantial polarization current densities in the brain. By exploiting the resonance phenomenon, these physiological effects can be brought about by very weak electric fields produced by compact battery-operated devices with very low current assumption. The fringe field of doublet electrodes that form a parallel-plate condenser can serve as the required external electric field to be administered to the subject’s skin. Several such doublets can be combined such as to induce an electric field with short range, suitable for localized field administration. A passive doublet placed such as to face the doublet on either side causes a boost of the distant induced electric field, and allows the design of very compact devices. The method and apparatus can be used by the general public as an aid to relaxation, sleep, or arousal, and clinically for the control and perhaps the treatment of tremors and seizures, and disorders of the autonomic nervous system, such as panic attacks.
Click on Link for Full Patent: US5782874
Manipulation of Nervous Systems by Electronic Fields – US5899922 – Inventor & Assignee, Hendricus C. Loos. Apparatus and method for manipulating the nervous system of a subject through afferent nerves, modulated by an externally applied weak electric field. The field frequency is to be chosen such that the modulation causes excitation of a sensory resonance. The resonances found so far include one near 1/2 Hz which affects the autonomic nervous system, and a resonance near 2.4 Hz that causes slowing of certain cortical processes. Excitation of the 1/2 Hz autonomic resonance causes relaxation, sleepiness, ptosis of the eyelids, or sexual excitement, depending on the precise frequency used. The weak electric field for causing the excitation is applied to skin areas away from the head of the subject, such as to avoid substantial polarization current densities in the brain. Very weak fields suffice for bringing about the physiological effects mentioned. This makes it possible to excite sensory resonances with compact battery powered devices that have a very low current consumption. The method and apparatus can be used by the general public as an aid to relaxation, sleep, or sexual arousal, and clinically for the control and perhaps the treatment of tremors and seizures, and disorders of the autonomic nervous system, such as panic attacks.
Click on Link for Full Patent: US5899922
Magnetic Excitation of Sensory Resonances – US5935054 – Inventor & Assignee, Hendricus Loos. The invention pertains to influencing the nervous system of a subject by a weak externally applied magnetic field with a frequency near 1/2 Hz. In a range of amplitudes, such fields can excite the 1/2 sensory resonance, which is the physiological effect involved in “rocking the baby”. The wave form of the stimulating magnetic field is restricted by conditions on the spectral power density, imposed in order to avoid irritating the brain and the risk of kindling. The method and apparatus can be used by the general public as an aid to relaxation, sleep, or arousal, and clinically for the control of tremors, seizures, and emotional disorders.
Click on Link for Full Patent: US5935054

Speech Signal Processing for Determining Psychological or Physiological Characteristics Using a Knowledge Base – US6006188 – Inventors, Rostislav Bogdashevsky, Vladimir Alexeev, Vitaly Yarigin, George Baker & Harrison Stanton – Dendrite Inc. A speech-based system for assessing the psychological, physiological, or other characteristics of a test subject is described. The system includes a knowledge base that stores one or more speech models, where each speech model corresponds to a characteristic of a group of reference subjects. Signal processing circuitry, which may be implemented in hardware, software and/or firmware, compares the test speech parameters of a test subject with the speech models. In one embodiment, each speech model is represented by a statistical time-ordered series of frequency representations of the speech of the reference subjects. The speech model is independent of a priori knowledge of style parameters associated with the voice or speech. The system includes speech parameterization circuitry for generating the test parameters in response to the test subject’s speech. This circuitry includes speech acquisition circuitry, which may be located remotely from the knowledge base. The system further includes output circuitry for outputting at least one indicator of a characteristic in response to the comparison performed by the signal processing circuitry. The characteristic may be time-varying, in which case the output circuitry outputs the characteristic in a time-varying manner. The output circuitry also may output a ranking of each output characteristic. In one embodiment, one or more characteristics may indicate the degree of sincerity of the test subject, where the degree of sincerity may vary with time. The system may also be employed to determine the effectiveness of treatment for a psychological or physiological disorder by comparing psychological or physiological characteristics, respectively, before and after treatment.
Click on Link for Full Patent: US6006188
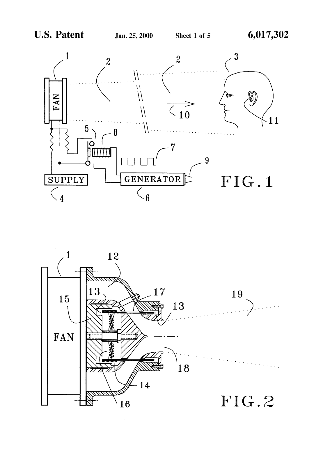
Subliminal Acoustic Manipulation of Nervous Systems – US6017302 – Instructor & Assignee, Hendricus G. Loos. In human subjects, sensory resonances can be excited by subliminal atmospheric acoustic pulses that are tuned to the resonance frequency. The 1/2 Hz sensory resonance affects the autonomic nervous system and may cause relaxation, drowsiness, or sexual excitement, depending on the precise acoustic frequency near 1/2 Hz used. The effects of the 2.5 Hz resonance include slowing of certain cortical processes, sleepiness, and disorientation. For these effects to occur, the acoustic intensity must lie in a certain deeply subliminal range. Suitable apparatus consists of a portable battery-powered source of weak subaudio acoustic radiation. The method and apparatus can be used by the general public as an aid to relaxation, sleep, or sexual arousal, and clinically for the control and perhaps treatment of insomnia, tremors, epileptic seizures, and anxiety disorders. There is further application as a nonlethal weapon that can be used in law enforcement standoff situations, for causing drowsiness and disorientation in targeted subjects. It is then preferable to use venting acoustic monopoles in the form of a device that inhales and exhales air with subaudio frequency.
Click on Link for Full Patent: US6017302

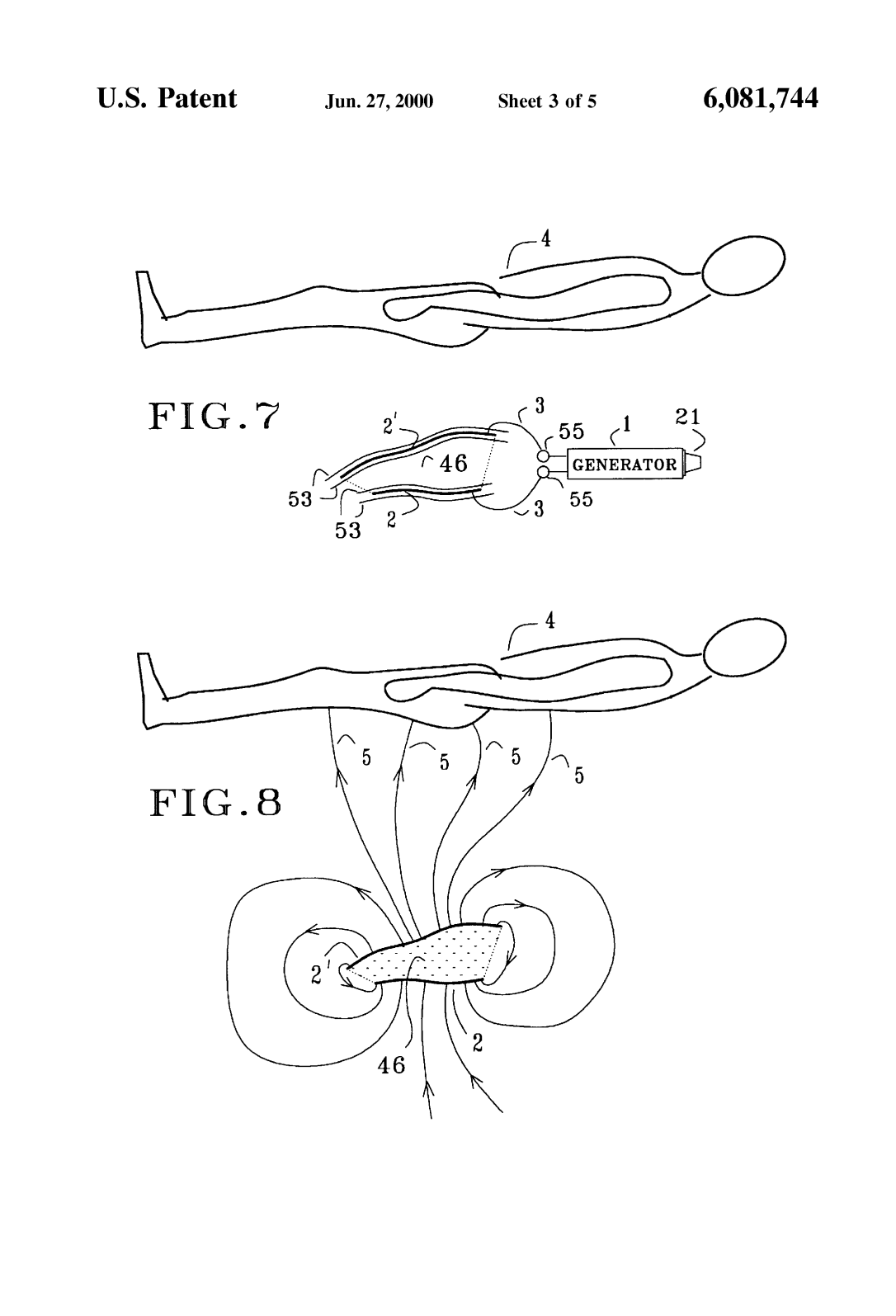
Electric Fringe Generator for Manipulating Nervous Systems – US6081744 – Inventor & Assignee, Hendricus G. Loos. Apparatus and method for manipulating the nervous system of a subject through afferent nerves, modulated by externally applied weak fluctuating electric fields, tuned to certain frequencies such as to excite a resonance in neural circuits. Depending on the frequency chosen, excitation of such resonances causes in a human subject relaxation, sleepiness, sexual excitement, or the slowing of certain cortical processes. The electric field used for stimulation of the subject is induced by a pair of field electrodes charged to opposite polarity and placed such that the subject is entirely outside the space between the field electrodes. Such configuration allows for very compact devices where the field electrodes and a battery-powered voltage generator are contained in a small casing, such as a powder box. The stimulation by the weak external electric field relies on frequency modulation of spontaneous spiking patterns of afferent nerves. The method and apparatus can be used by the general public as an aid to relaxation, sleep, or arousal, and clinically for the control and perhaps the treatment of tremors and seizures, and disorders of the autonomic nervous system, such as panic attacks.
Click on Link for Full Patent: US6081744

Brain Wave Inducing Apparatus – US5330414 – Inventor, Mitsuo Yasushi – Assignee, Pioneer Corp. A random signal generator outputs a random noise signal to a band pass filter which selectively passes frequency components in the frequency range of a desired brain wave from a subject. The output of the band pass filter is supplied to an automatic level controller. The automatic level controller sets the output of band pass filter to a predetermined amplitude. Then, the output of the automatic level controller is fed to a stimulating light generator, which converts the output of the automatic level controller into a light signal for stimulating the subject in order to induce the desired brain wave from the subject. The light signal is then emitted into the subject’s eyes.
Click on Link for Full Patent: US5330414

Ultrasonic Speech Translator & Communications System – US5539705 – Inventors, M. Alfred Ackerman, Curtis W. Ayers, & Howard D. Haynes – Assignee, Lockheed Martin Energy Systems Inc. A wireless communication system undetectable by radio frequency methods for converting audio signals, including human voice, to electronic signals in the ultrasonic frequency range, transmitting the ultrasonic signal by way of acoustical pressure waves across a carrier medium, including gases, liquids, or solids, and reconverting the ultrasonic acoustical pressure waves back to the original audio signal. The ultrasonic speech translator and communication system (20) includes an ultrasonic transmitting device (100) and an ultrasonic receiving device (200). The ultrasonic transmitting device (100) accepts as input (115) an audio signal such as human voice input from a microphone (114) or tape deck. The ultrasonic transmitting device (100) frequency modulates an ultrasonic carrier signal with the audio signal producing a frequency modulated ultrasonic carrier signal, which is transmitted via acoustical pressure waves across a carrier medium such as gases, liquids or solids. The ultrasonic receiving device (200) converts the frequency modulated ultrasonic acoustical pressure waves to a frequency modulated electronic signal, demodulates the audio signal from the ultrasonic carrier signal, and conditions the demodulated audio signal to reproduce the original audio signal at its output (250).
Click on Link for Full Patent: US5539705
Method & Recording for Producing Sounds & Messages To Achieve Alpha & Theta Brainwave States & Positive Emotional States in Humans – US5586967 – Inventor & Assignee, Mark E. Davis. A method and recording for the use in achieving alpha and theta brainwave states and effecting positive emotional states in humans, is provided which includes a medium having a musical composition thereon with an initial tempo decreasing to a final tempo and verbal phrases recorded in synchrony with the decreasing tempo.
Click on Link for Full Patent: US5586967
FM Theta-Inducing Audible Sound, & Method, Device & Recorded Medium To Generate the Same – US5954630 – Inventor, Kazumi Masaki & Osamu Matsuda – Assignee, Ken Hayashibara. An audible sound of modulated wave where a very low-frequency wave of about 20 hertz or lower is superposed on an audio low-frequency wave effectively stimulates Fm theta in human brain waves to improve attention and concentration during mental tasks when auditorily administered. The audible sound is also effective in stimulation of human alpha wave when the very low-frequency wave lies within the range of about 2-10 hertz. Such audible sound is artificially obtainable by generating an electric signal which contains such a modulated wave, and transducing it into audible sound wave.
Click on Link for Full Patent: US5954630
Apparatus & Methods for Measuring Autonomic Nervous System Function – US6490480 – Inventor & Assignee, Eduard Lerner. An apparatus and a non-invasive polygraphic diagnostic method electroautonomography are described. The invented apparatus can be used for diagnostic test to determine the function of the autonomic nervous system (ANS) of major organ systems. Further more, the invented apparatus and related test methods are used for measurement of the two types of skin potentials i.e. slow waves and fast waves. Since the fast waves displays possible clinical indications of autonomic nerve conduction velocity and other ANS function, the present apparatus and the non-invasive polygraphic method can be used for an early and accurate diagnostic tests for many diseases related to autonomic dysfunction and microneurography.
Click on Link for Full Patent: US6490480

Method & Apparatus of Varying the Brain State of a Person by Means of an Audio Signal – US5135468 – Inventor & Assignee, Juergen P. Meissner. A method of varying the brain state of a person includes the steps of supplying the first audio signal to one ear of the person, supplying a second audio signal to the other ear of the person, and substantially continuously varying the frequency of at least one of the first and second audio signals to vary the brain state of the person.
Click on Link for Full Patent: US5135468
Method & Apparatus for Inducing & Establishing a Changed State of Consciousness – Inventor & Assignee, Claus Bick. An electroacoustic device includes a sound generator as well as a system for producing synthetic human speech, connected to a modulation stage for superimposing the output signals thereof. The superimposed output signals are applied via an amplifier stage to one of a headphone system or loudspeaker system.
Click on Link for Full Patent: US5151080
Method for Mixing Audio Subliminal Recordings – US5170381 – Inventor & Assignees, Eldon Taylor & James R. Woodhams. Audio subliminal recordings are made in which in addition to using a primary carrier, such as music, two audio channels are used to deliver subliminal messages to the brain. On one channel, accessing the left brain hemisphere, the message delivered is meaningfully spoken, forward-masked, permissive affirmations delivered in a round-robin manner by a male voice, a female voice and a child’s voice. On the other channel, accessing the right brain, directive messages, in the same voices, are recorded in backward-masked (or meta-contrast). The three voices are recording in round-robin fashion with full echo reverberation. The audio tracks are mixed using a special processor which converts sound frequencies to electrical impulses and tracks the subliminal message to synchronize the subliminal message in stereo with the primary carrier. The processor maintains constant gain differential between the primary carrier and the subliminal verbiage and, with the subliminal verbiage being recorded with round-robin, full echo reverberation, ensures that none of a message is lost. The primary carrier should be continuous music without breaks or great differences in movements.
Click on Link for Full Patent: US5170381
Method of Inducing Mental, Emotional & Physical States of Consciousness, including Specific Mental Activity, in Human Beings – US5213562 – Inventor, Robert A. Monroe – Assignee, Interstate Industries Inc. A method having applicability in replication of desired consciousness states; in the training of an individual to replicate such a state of consciousness without further audio stimulation; and in the transferring of such states from one human being to another through the imposition of one individual’s EEG, superimposed on desired stereo signals, on another individual, by inducement of a binaural beat phenomenon.
Click on Link for Full Patent: US5213562

Method and System of Altering Consciousness – US5289438 – Inventor & Assignee, James Gall. A system for altering the states of human consciousness involves the simultaneous application of multiple stimuli, preferable sounds, having differing frequencies and wave forms. The relationship between the frequencies of the several stimuli is exhibited by the equation
g=2.sup.n/4 ·f

Method for Incorporating Brain Wave Entrainment into Sound Production – US7674244 – Inventor, Adam Hewett – Assignee, Transparent Corp. (VitrePixel Holdings LLC). A method for incorporating brain wave entrainment into an audio composition by selectively modulating musical elements within the composition. The invention provides a way to specify and modulate individual frequency components in an audio composition, according to the desired brain wave state, allowing brain wave entrainment to be easily and subtly incorporated into an audio composition by disguising the modulations as natural instrumental qualities such as vibrato or reverberation.
Click on Link for Full Patent: US7674224

Method & Apparatus for Generating Subliminal Messages – US4616261 – Inventors, James R. Crawford, Jerald L. Winegeart & Michael H. Erb – Assignee, Stimutech Inc. A system for generating a subliminal message during the display of a normal television program on a television receiver utilizes a personal computer to generate an RF carrier modulated with video signals encoding the subliminal message. The computer runs under the control of an application program which stores the subliminal message and also controls the computer to cause it to generate timing signals that are provided to a single pole double-throw switch. The source of the normal television program and the video output of the computer are connected to the two switch inputs and the switch output is connected to the television receiver antenna system. The timing signals cause the switch to normally display the conventional television program and to periodically switch to the computer output to generate the subliminal message. The video output of the computer includes horizontal and vertical synchronizing signals which are of substantially the same frequency as the synchronizing signals incorporated within the normal program source but of an arbitrary phase.
Click on Link for Full Patent: US4616261
Apparatus for Generating Sound through Low Frequency & Noise Modulation – US4924744 – Inventor, Kimio Yamamura – Assignee, Hudson Soft Co. Ltd. In an apparatus for generating sound, there are provided a plurality of channels for generating sounds. Each of the channels includes a memory for storing waveform data, and at least one of the channels includes a noise generator so that various kinds of sounds including rhythm sound-effects sound, effects sound-vibrato etc. are generated. There is further provided a controller by which voice sound signal is passed through the channels so that artificial sound, voice sound etc. are generated. There is still further provided a circuit for adjusting an amplitude level of a whole sound which is obtained by mixing output sounds of the channels so that far and near sound is produced. Further, each of the channels includes left and right attenuators which divide a channel sound into left and right channel sounds. Still further, the apparatus comprises a low frequency oscillator for controlling a depth of frequency modulation, and a controller for writing sampling data of a predetermined waveform into serial addresses of a memory.
Click on Link for Full Patent: US4924744
Non-Contact Vital Signs Monitor – US4958638 – Inventors, Steven M. Sharpe, Joseph Selas, Anita H. MacDonald, & Scott G. Crowley. Assignee, Georgia Tech Research Corp. An apparatus for measuring simultaneous physiological parameters such as heart rate and respiration without physically connecting electrodes or other sensors to the body. A beam of frequency modulated continuous wave radio frequency energy is directed towards the body of a subject. The reflected signal contains phase information representing the movement of the surface of the body, from which respiration and heartbeat information can be obtained. The reflected phase modulated energy is received and demodulated by the apparatus using synchronous quadrature detection. The quadrature signals so obtained are then signal processed to obtain the heartbeat and respiratory information of interest.
Click on Link for Full Patent: US4958638

Method & System for Altering Consciousness – US5123899 – Inventor & Assignee, James Gall. A system for altering the states of human consciousness involves the simultaneous application of multiple stimuli, preferable sounds, having differing frequencies and wave forms. The relationship between the frequencies of the several stimuli is exhibited by the equation
g=s.sup.n/4 ·f

Remote Sensing Method & Device – US7811234 – Inventor, William R. McGrath – Assignee, California Institute of Technology. A remote-detection system is provided for monitoring changes in permittivity associated with physiological activity of a subject that is free to move. The system includes a source containing an oscillator configured to illuminate tissue of the subject with an electromagnetic signal beam. The system further includes a receiver configured to receive reflections of the electromagnetic signal beam from the subject. The reflections include amplitude variations indicative of motion of the illuminated tissue and amplitude variations indicative of time dependent variations in the permittivity of the illuminated tissue associated with electrical activity of the subject’s heart. The system further includes a detector connected to the receiver and configured to extract from the reflected signal beam the variations in amplitude indicative of motion of the illuminated tissue or indicative of time dependent variations in the permittivity of the illuminated tissue associated with the electrical activity of the subject’s heart.
Click on Link for Full Patent: US7811234

Platform for Detection of Tissue Structure Change – US20100324415A1 – Inventors, Darrel D. Drinan, Carl F. Edman, & Naresh C. Bhavaraju – Assignee, PhiloMetron Inc. Aspects include methods and apparatuses for determining change over time in one or more measured regions of a body using a plurality of data sets obtained by analysis of applied signals to said region. The method may include transmitting and receiving one or more of electromagnetic wave signals, applied acoustic wave signals and electrical signals transmitted through or reflected off of a portion of the measured body region.
Click on Link for Full Patent: US20100324415A1

Apparatus & Method for Determining the Condition of a Living Subject – US20130001422A1 – Inventors, Gary Dean Lavon, Courtney Wasson, Bryan Keith Waye, Uwe Schooner, Michael Franke, Stefan Hubert Hollinger, Nadia Patricia LAABS & Robert Joseph Schick – Assignee, Procter and Gamble Co. A method and apparatus for monitoring the condition of a living subject may be self-adjusting or adjustable to accommodate different end uses. Adjustments might be made, for example, based on characteristics of the subject to be monitored (such as species, age, health, etc.), environment (such as home or industrial setting, room size, room contents, spurious signals in the environment), and set-up conditions (such as distance between the apparatus and living subject, alignment of the apparatus with the subject, etc.).
Click on Link for Full Patent: US20130001422A1

Auditory Subliminal Message & Method – US4395600 – Inventors, Rene R. Lundy & David R. Tyler – Assignee, Proactive Systems, Inc. Ambient audio signals from the customer shopping area within a store are sensed and fed to a signal processing circuit that produces a control signal which varies with variations in the amplitude of the sensed audio signals. A control circuit adjusts the amplitude of an auditory subliminal anti-shoplifting message to increase with increasing amplitudes of sensed audio signals and decrease with decreasing amplitudes of sensed audio signals. This amplitude controlled subliminal message may be mixed with background music and transmitted to the shopping area. To reduce distortion of the subliminal message, its amplitude is controlled to increase at a first rate slower than the rate of increase of the amplitude of ambient audio signals from the area. Also, the amplitude of the subliminal message is controlled to decrease at a second rate faster than the first rate with decreasing ambient audio signal amplitudes to minimize the possibility of the subliminal message becoming supraliminal upon rapid declines in ambient audio signal amplitudes in the area. A masking signal is provided with an amplitude which is also controlled in response to the amplitude of sensed ambient audio signals. This masking signal may be combined with the auditory subliminal message to provide a composite signal fed to, and controlled by, the control circuit.
Click on Link for Full Patent: US4395600

Apparatus for Generating Sound through Low Frequency and Noise Modulation – US4924744 – Inventor, Kimio Yamamura – Hudson Softco Ltd. In an apparatus for generating sound, there are provided a plurality of channels for generating sounds. Each of the channels includes a memory for storing waveform data, and at least one of the channels includes a noise generator so that various kinds of sounds including rhythm sound-effects sound, effects sound-vibrato etc. are generated. There is further provided a controller by which voice sound signal is passed through the channels so that artificial sound, voice sound etc. are generated. There is still further provided a circuit for adjusting an amplitude level of a whole sound which is obtained by mixing output sounds of the channels so that far and near sound is produced. Further, each of the channels includes left and right attenuators which divide a channel sound into left and right channel sounds. Still further, the apparatus comprises a low frequency oscillator for controlling a depth of frequency modulation, and a controller for writing sampling data of a predetermined waveform into serial addresses of a memory.
Click on Link for Full Patent: US4924744

Electroencephalographic Apparatus for Exploring Responses to Quantified Stimuli – US5788648 – Inventor, Eric Tab Nadel – Assignee, Quantum Devices Inc. (Quantum Interference Devices Inc.) An electroencephalographic apparatus for exploring a person’s response to external stimuli, which includes electroencephalographic sensing apparatus for sensing brainwave signals from the person; stimulating apparatus for generating the stimuli; and processing apparatus having at least a first input operative for receiving the brainwave signals, at least a second input for monitoring the stimuli; the processing apparatus including computing apparatus operative for computing a correlation quotient of the brainwave signals and the stimuli.
Click on Link for Full Patent: US5788648

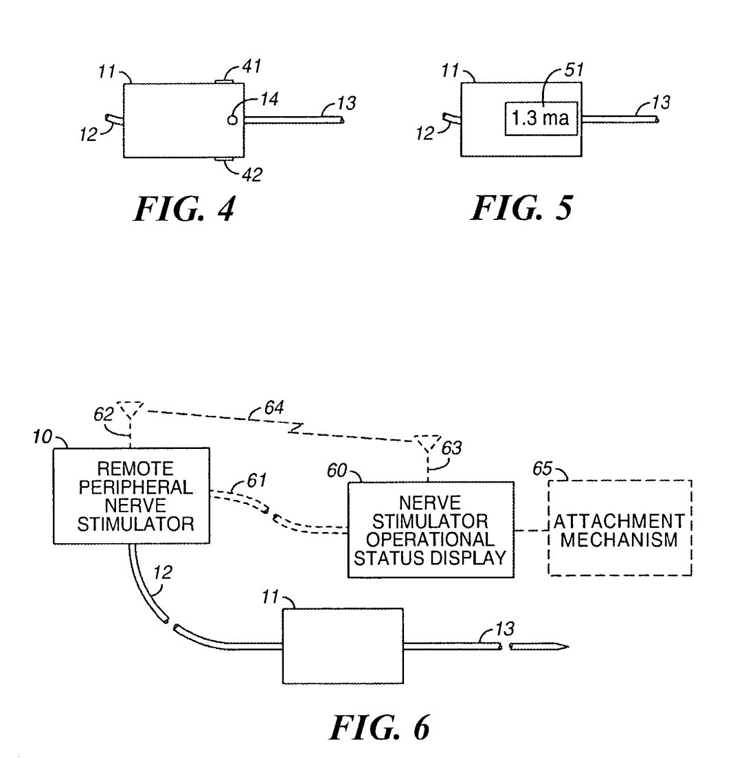
Nerve Stimulation Functionality Indicator Apparatus & Method – US7689272 – Inventors, Admir Hadzic, Alen Hadzic, Nihat Hatzi, Gigliola Sergio, Jerry Vloka & Howard Donnelly – Assignee, Macosta Medical USA LLC. An operational status display for a nerve stimulator is located remote from the nerve stimulator. In one embodiment the display comprises a stand-alone discrete component that can be placed as desired by the nerve stimulator needle. In another embodiment, the display comprises an integral part of the nerve stimulator needle. The display can be alphanumeric or can comprise one or more discrete signal lights or other visual indicia. Color can be used to provide information regarding levels (intensity) of current, or the energy being provided to the needle and/or being delivered to the patient. In some embodiments these displays also provide information regarding the presence or absence of current and/or the polarity of the electricity then being provided to the nerve stimulator needle.
Click on Link for Full Patent: US7689272

Closed Loop Neural Stimulation – US8892208 – Inventors, Michael P. Flynn, Parag G. Patil, Hyo Gyuem Rhew & Jaehun Jeong – Assignee, University of Michigan. A system and method for conducting closed loop deep brain stimulation on an individual, and more specifically, for receiving local field potential neural signals, encoding and filtering the signals into the logarithmic domain, processing the signals, and determining optimal stimulation parameters for deep brain stimulation based on the processed neural signals. The system and method may also include an RF-DC converter such that the system may be powered in whole or in part based on radio frequency signals. The system and method may also include an RF transceiver such that the system may transmit data wirelessly to an external receiver, or may receive stimulation parameters wirelessly from an external transceiver.
Click on Link for Full Patent: US8892208

Method, System & Apparatus for Remote Neural Modulation Brain Stimulation and Feedback Control – US9433789 – Inventors, Laura Tyler Perryman & Chad Andresen – Assignee, Micron Devices LLC. A method, system and apparatus is presented for a wireless neural modulation feedback control system as it relates to an implantable medical device comprised of a radio frequency (RF) receiver circuit, one or more dipole or patch antenna(s), one or more electrode leads connected to at least one dipole or patch antenna(s), and at least one microelectronic neural modulation circuit, and an external or internally implanted RF device to neurally modulate brain tissue in order to treat medical conditions that can be mediated by neuronal activation or inhibition, such as Parkinson’s, Alzheimer’s, epilepsy, other motor or mood based disorders, and/or pain. The implantable receiver captures energy radiated by the RF transmitter unit and converts this energy to an electrical waveform by the implanted neural modulation circuit to deliver energy that can be utilized by the attached electrode pads in order to activate targeted neurons in the brain.
Click on Link for Full Patent: US9433789


Apparatus & Method for Spatially Characterizing & Controlling a Particle Beam – US4700068 – Inventors, Frederick J. McClung, Jr. & James G. Small – Assignee, Raytheon Co. (Hughes Aircraft Co.). A system and method is described for obtaining a spatial characterization of a particle beam, including the beam direction, position, divergence, aberrations and intensity profile. A mechanism is also provided for adjusting the beam propagation to a desired state in response to the sensed characteristics. A fiber array in the path of a neutral particle beam casts shadows which are sensed at a downstream location to characterize the beam. Various mechanisms can be used to sense the shadow positions and/or widths relative to the fibers, from which the various beam characteristics can be derived. By magnetically removing charged particles from the neutral beam shadows, the shadows can be sensed by their effect upon the secondary emission currents generated in downstream conducting sensor wires, by their effect upon the fluorescence of downstream optical fibers, or by their effect upon the thermal heating of various types of downstream heat sensors. The shadows can also be sensed directly by the differences in their spectral radiation compared to that of the beam. A very high degree of precision is obtained in directing the beam, while initial coarse measurements and adjustments can be derived by providing the fiber array as a grid of conductive wires and sensing differentials in the secondary emission currents generated in the various wires.
Click on Link for Full Patent: US4700068

Compensated Coherent Imaging for Improved Imaging & Directed Energy Weapons Applications – US7405834 – Inventors, Joseph C. Marron, Carl W. Embry, AnnMarie Oien, Duane D. Smith, J. Alex Thomson, James Pete Tucker & Samel G. L. Williams – Assignee, Lockheed Martin Corp. & Lockheed Martin Coherent Tech Inc. An imaging method and associated system for producing high-resolution images. The method includes illuminating an object or scene with coherent radiation such as beams from a laser and then, collecting scattered light with a plurality of subapertures rather than a single large aperture. The method continues with coherently detecting, such as with heterodyne detection, the scattered light to measure the complex amplitude incident on each subaperture and digitally reconstructing images from the coherently detected light for the subapertures. Then digital co-phasing is performed on the subapertures using an image sharpness or quality metric to form an image having the resolution of the total subaperture area. The method may also include determining an aimpoint in the formed image, calculating a phase screen, directing laser beams through the subapertures towards the aimpoint, and co-phasing the laser beams by applying the phase screen to form a single beam.
Click on Link for Full Patent: US7405834

Optical Magnetron for High Efficiency Production of Optical Radiation & Related Methods of Use – US7609001 – Inventor, John G. Small – Assignee, Raytheon Co. An electromagnetic radiation source is disclosed that produces a single mode operation at a desired operating frequency. The electromagnetic radiation source is included in a wide variety of applications including a wireless power transmission system, a system for providing wireless/high-bandwidth communications in accordance with the present invention, a lighting system, an irradiation system, a weapons system, etc.
Click on Link for Full Patent: US7609001

Dual Use RF Directed Energy Weapon and Imager – US8049173 – Inventor, Kenneth W. Brown – Assignee, Raytheon Co. There is disclosed an dual use RF directed energy weapon and imager. A generator may provide a first beam of RF electromagnetic energy which may be directed to an object by a beam director. An imager may form an image of the object. The imager may share an aperture defined by the beam director.
Click on Link for Full Patent: US8049173


Wireless Energy Transmission Using Near-Field Energy – Inventors, Frederick P. Stecher & Christopher Fuller – Assignee, Allianz Technosystems Inc. Techniques are described for wireless energy transmission and projecting magnetic fields over relatively long near-fields. In one example, a device for transmitting near-field energy comprises at least one source that generates a radiofrequency (RF) signal, an antenna that generates near-field signals from the RF signal, and a plurality of sub-wavelength sized elements that form a lens in communication with the antenna that captures the near-field signals, generates near-field energy, and re-directs the near-field energy toward an object in the near-field of the lens, where the sub-wavelength sized elements are disposed about the antenna.
Click on Link for Full Patent: US20120274147A1-2


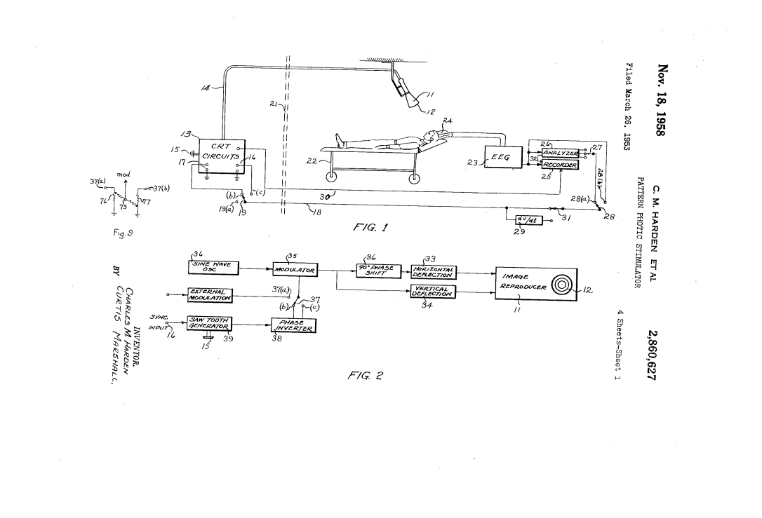
Pattern Photic Simulator – US2860627 – Inventors & Assignees, Charles M. Harden & Marshall Curtis. This invention relates generally to photo-stimulation and more particularly to methods and means for effecting photo-stimulation with relatively low intensity variable light patterns.
Click on Link for Full Patent: US2860627

Means for Aiding Hearing – US2995633 – Inventors & Assignees, Henry K. Puharich & Joseph L. Lawrence. The present invention is directed to means for auxiliary hearing communication, useful for improving hearing, for example, and relates more specifically to novel Patented Aug. 8, 1961 lCC . 2 endings of the facial system, to the end’that signals capable of producing soundsensations are transmitted through the facial system to the auditory centers of the brain. In its most advantageous and practical form, the device of and improved arrangements for auxiliary hearing communications by efi’ecting the transmission of sound signals through the dental structure’and facial nervous system of the user.
Click on Link for Full Patent: US2995633


Psycho-Acoustic Projector – US3566347 – Inventor, Andrew E. Flanders – Assignee, General Dynamics Corp. BROADLY, THIS DISCLOSURE IS DIRECTED TO A SYSTEM FOR PRODUCING AURAL PSYCHOLOGICAL DISTRUBANCES AND PARTIAL DEAFNESS OF THE ENEMY DURING COMBAT SITUATIONS. ESSENTIALLY, A HIGH DIRECTIONAL BEAM IS RADIATED FROM A PLURALITY OF DISTINCT TRANSDUCERS AND IS MODULATED BY A NOISE, CODE OR SPEECH BEAT SIGNAL. THE INVENTION MAY UTILIZE VARIOUS FORMS AND MAY INCLUDE MOVABLE RADIATORS MOUNTED ON A VEHICLE ORIENTED TO CONVERGE AT A DESIRED POINT, INDEPENDENTLY POSITIONED VEHICLES WITH A COMMON FREQUENCY MODULATOR, OR MEANS EMPLOYED TO MODULATE THE ACOUSTICAL BEAM WITH RESPECT TO A FIXED FREQUENCY. DURING COMBAT, FRIENDLY FORCES WOULD BE EQUIPPED WITH A REFERENCE GENERATOR TO PROVIDE AURAL DEMODULATION OF THE PROJECTED SIGRAL, THEREBY YIELDING AN INTELLIGIBLE BEAT SIGNAL WHILE ENEMY PERSONNEL WOULD BE RENDERED PARTIALLY DEAF BY THE PROJECTED SIGNAL AS WELL AS BEING UNABLE TO PERCIEVE ANY INTELLIGENCE TRANSMITTED IN THE FORM OF A MODULATED BEAT SIGNAL.
Click on Link for Full Patent: US3566347

Electron Beam Directed Energy Device & Methods of Using Same – US7282727 – Inventor & Assignee, Michael R. Retsky. A method and apparatus is disclosed for an electron beam directed energy device. The device consists of an electron gun with one or more electron beams. The device includes one or more accelerating plates with holes aligned for beam passage. The plates may be flat or preferably shaped to direct each electron beam to exit the electron gun at a predetermined orientation. In one preferred application, the device is located in outer space with individual beams that are directed to focus at a distant target to be used to impact and destroy missiles. The aimings of the separate beams are designed to overcome Coulomb repulsion. A method is also presented for directing the beams to a target considering the variable terrestrial magnetic field. In another preferred application, the electron beam is directed into the ground to produce a subsurface x-ray source to locate and/or destroy buried or otherwise hidden objects including explosive devices.
Click on Link for Full Patent: US7282727

Detecting Emotion in Voice Signals in a Call Center – US8965770 – Inventor, Valery A. Petrushin – Assignee, Accenture Global Services Ltd. A computer system monitors a conversation between an agent and a customer. The system extracts a voice signal from the conversation and analyzes the voice signal to detect a voice characteristic of the customer. The system identifies an emotion corresponding to the voice characteristic and initiates an action based on the emotion. The action may include communicating the emotion to an emergency response team, or communicating feedback to a manager of the agent, as examples.
Click on Link for Full Patent: US8965770

System & Method for a Telephonic Emotion Detection that Provides Operator Feedback – US20020002464A1 – Inventor, Valery A. Petrushin – Assignee, Accenture Global Services Ltd. A system, method and article of manufacture are provided for monitoring emotions in voice signals and providing feedback thereon. First, a voice signal is received representative of a component of a conversation between at least two subjects. Thereafter, an emotion associated with the voice signal is determined. Feedback then provided to a third party based on the determined emotion.
Click on Link for Full Patent: US20020002464A1

Early Warning Near-Real-Time Security System – US6873261 – Inventors & Assignees, Eric Anthony & Joseph Phillips. An early-warning security system for monitoring and tracking in real-time or at least in near-real-time the activities and movements associated with prescribed personnel, personal property, mobile vehicles, and buildings. The system comprises a plurality of in situ local controllers having a microprocessor and a coordinated plurality of conspicuous and clandestine digital video cameras for continuously producing digital audio and visual signals, uplinking such signals via a suitable wireless telecommunications device to a satellite, general packet radio service, the Internet, intranet or extranet, and then downlinking these signals to a plurality of control centers for recording and analysis thereof. Uplinking of these digital signals may occur continuously or may be activated by a manual or predefined trigger event. Preventive or remedial action is immediately taken when perturbations from normal behavior or activities are observed in the recorded audio and visual signals.
Click on Link for Full Patent: US6873261

Radiant Electromagnetic Energy Management – US8362884 – Inventor, Robert T. Duge – Assignee, Rolls-Royce North American Technologies Inc. A device provides a radiant electromagnetic energy output. During standby operation of the device, the output is provided at one or more frequencies selected to dissipate excess power through atmospheric absorption. Circuitry is included to tune the output of the device to a second frequency different than the first frequency for various directed energy applications that make use of the excess power. The circuitry can be arranged to further utilize frequency agility for power dissipation, to provide different operating modes involving a radiant output, or the like.
Click on Link for Full Patent: US8362884


Remote Monitoring of Fixed Structures – US20080282817A1 – Inventor, David S. Breed – Assignee, Intelligent Tech International Inc. Arrangement and method for monitoring a structure at a fixed location, e.g., a house, parked boat or parked airplane, includes a monitoring or sensor system arranged to obtain information about the structure, an exterior of the structure and/or an interior of the structure different than the location of the structure, and a communication system coupled to the sensor system and being provided with a location of the structure. The communication system transmits the information about the structure obtained by the sensor system and the location of the structure to a remote facility. The remote facility can therefore monitor the structure, and take steps to ensure the integrity of the reservoir and the fluid therein. To enable wireless and powerless monitoring, a power source independent of a power grid extending outside of the fixed structure may be provided to supply power to the sensor system and the communications unit.
Click on Link for Full Patent: US20080282817A1

Polynucleotide Encoding Insect Ecdysone Receptor – US6245531 – Inventors, David S. Hogness, Michael R. Koelle & William A. Seagraves – Assignee, Leland Stanford Junior University. Polynucleotide sequences which encode ecdysone receptors have been isolated and expressed in host cells.
Click on Link for Full Patent: US6245531

Conversation Abstractions Based on Trust Levels in a Virtual World – US20090172539A1 – Inventors, Cary Lee Bates, Jim Chun-Ta Chen, Zachary Adam Garbow & Gregory Edward Young. Embodiments of the invention provide techniques for abstracting conversations between avatars within a virtual world. In one embodiment, the user of an avatar observing a conversation between other avatars may be presented with an abstracted version of the conversation. The abstraction may be performed so as to enable the user to determine the general topic or nature of the conversation, without receiving sensitive or detailed information included in the conversation. In one embodiment, the abstraction is performed by substituting words of the conversation with fewer words, or words having a more general meaning. The degree of abstraction performed may be based on a level of trust between the observer and the users engaged in conversation.

X-Ray Inspection Trailer – US20090257555A1 – Inventors, Alex Chalmers, Louis W. Perich, Peter J. Rothschild, William John Baukus & Jeffrey Schubert – Assignee, American Science & Engineering Inc. An inspection system, and inspection methods, based upon an imaging enclosure characterized by an enclosing body. A source of penetrating radiation and a detector module are concealed entirely within the body of a conveyance such as a trailer. A characterizing value or an image is formed with respect to an inspected object that is disposed entirely outside the conveyance and the characterizing value or image is made available to a remotely disposed operator. Additional detectors may be disposed distally to the inspected object and may detect transmitted, or forward-scattered, penetrating radiation.
Click on Link for Full Patent: US20090257555A1

Target Tracking System & Method with Jitter Reduction Suitable for Directed Energy Systems – US20120104282 – Inventor, James R. Gallivant – Assignee, Raytheon Co. Embodiments of a target tracking system and method with jitter reduction suitable for directed energy systems are generally described herein. In some embodiments, the directed energy system includes a target tracking system to track one or more track points on a moving target, and a beam transmission unit to maintain a directed energy beam on a selected one of the track points in response to tracking control signals provided by the target tracking system. The track points may be smaller than a spot size of the directed energy beam maintained on the target.
Click on Link for Full Patent: US20120104282


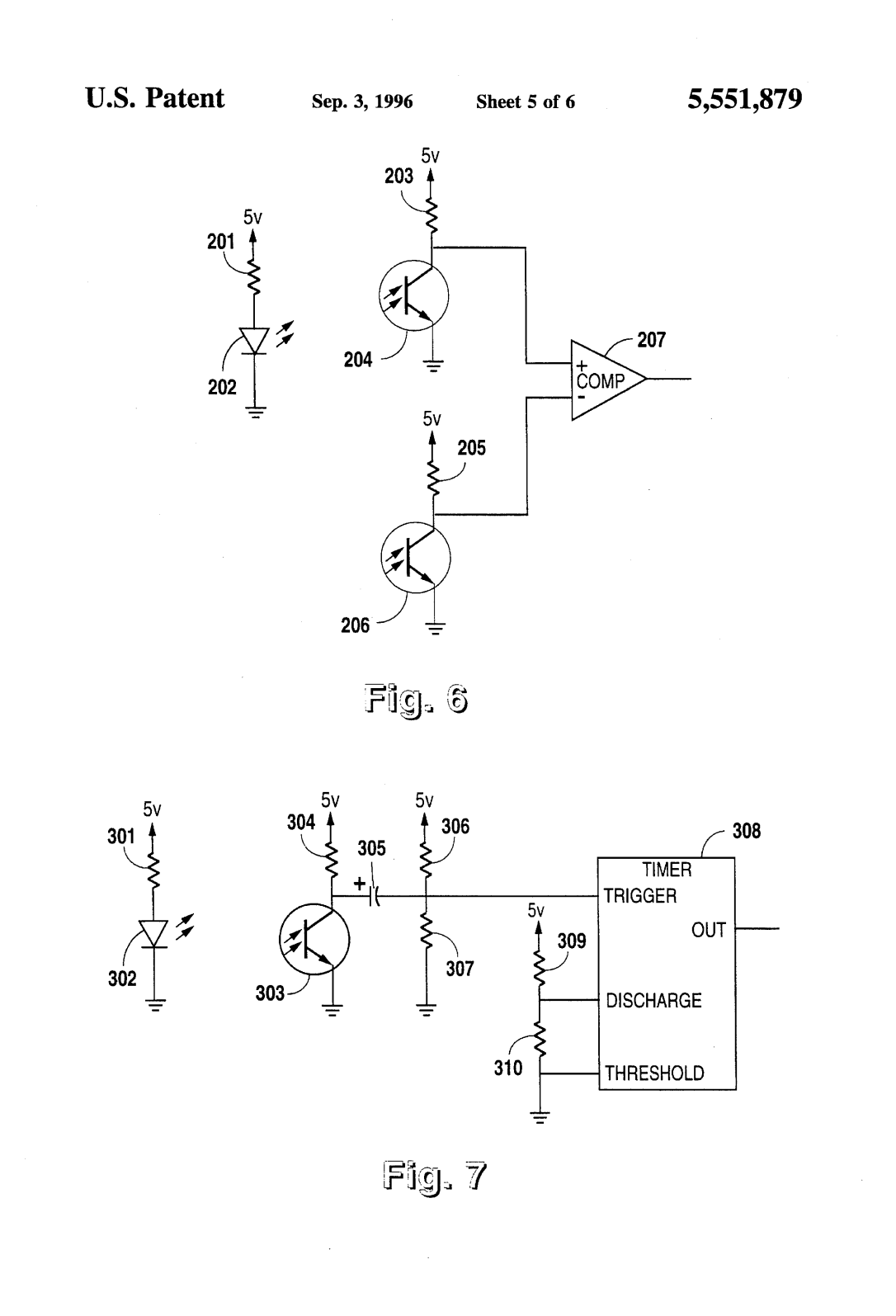
Dream State Teaching Machine – US5551879 – Inventors, Arthur D. Raynie, Raul G. Rodriguez, Gary L. Forister & Alexander B. Crawford – Assignee, Dream Weaver JV. A device for enhancing lucidity in the dream state of an individual. The device includes electronic circuitry incorporated into a headband for the user to wear while sleeping. The circuitry includes a detector for fitting adjacent to the eye of the sleeping individual, for detecting Rapid Eye Movement (REM), which occurs during the dream state. The detector emits a signal that is evaluated by additional circuitry to determine whether or not REM sleep is occurring. If REM sleep is occurring, a signal is generated to operate a recorded, which typically plays prerecorded messages through the headphones engaging the ear of the sleeping individual.
Click on Link for Full Patent: US5551879


FM Theta-Inducing Audible Sound, & Method, Device & Recorded Medium To Generate the Same – US5954630 – Inventors, Kazumi Misaki & Osamu Matsuda. Assignee, Ken Hayashibara. An audible sound of modulated wave where a very low-frequency wave of about 20 hertz or lower is superposed on an audio low-frequency wave effectively stimulates Fm theta in human brain waves to improve attention and concentration during mental tasks when auditorily administered. The audible sound is also effective in stimulation of human alpha wave when the very low-frequency wave lies within the range of about 2-10 hertz. Such audible sound is artificially obtainable by generating an electric signal which contains such a modulated wave, and transducing it into audible sound wave.
Click on Link for Full Patent: US5954630


Energy Focusing System for Active Denial Apparatus – EP2113063B1 – Inventors, James Jordan Rosenberg, Michael Peter Delisio, Blythe Chadwick Deckman & Michael Loren Aronson – Assignee, Wavestream Corp. The present invention generally relates to active denial systems for non-lethal weapons. Specifically, the present invention relates to the use of directed electromagnetic power to generate sufficiently unpleasant sensations in targeted subjects to affect behavior or incapacitate the subject without causing significant physical harm. An active denial apparatus is known from US 2002/011963A1.
Click on Link for Full Patent: EP2113063B1

=================================================================
Return to my homepage, where you can scroll through more articles, by clicking the site title at the top of the page or at www.fightingmonarch.com
Follow my website, which you can easily do for free. That way you can get new articles as they come out.
And please retweet or share as many articles as possible.
Our enemy depends on our silence.



































239 thoughts on “Patents for Mind Control Technology”